Skab væghængt H775 B310 D250 mm. RAL 7035 - til afspærring - Danfoss Twinrør DN20 m/m
Produkter fra Harde sikre et godt arbejdsmiljø.
Forventet leveringstid fra bestilling: 1-2 uger
Varenummer:
200117-DAT
Danfoss Afspærrings ventiler twinrør DN20 m.m.
Vægmonteret bagplade
Tilkøbsprodukter:
Produktinformation "Skab væghængt H775 B310 D250 mm. RAL 7035 - til afspærring - Danfoss Twinrør DN20 m/m"
Harde væghængt skab for montage på væghængt bagplade.
Bagplade med for monterede afspærringsventiler.
Skabet opfylder alle gældende tekniske krav.
Skabet er designet med henblik på ergonomi og godt arbejdsmiljø.
- Danfoss Afspærrings ventiler twinrør DN20 m.m.
- Let og hurtig montage
- Fjernvarme logo
- Trekantlås
- Aftagelig låge
- Varmgalvaniseret stålplade
- Korrosionsbestandigt
- Pulverlak finstruktur
- Farve RAL 7035
- Isolering polyethylene foam 40/20mm. lambda værdi 0,038 (ved 10 gr.)
| Farve: | RAL 7035 Lys grå |
|---|---|
| Logo: | Fjernvarme Logo |
| Materiale: | Varmgalvaniseret stål |
| Montage: | Vægmontage på Bagplade |
| Skabs bredde: | 310 |
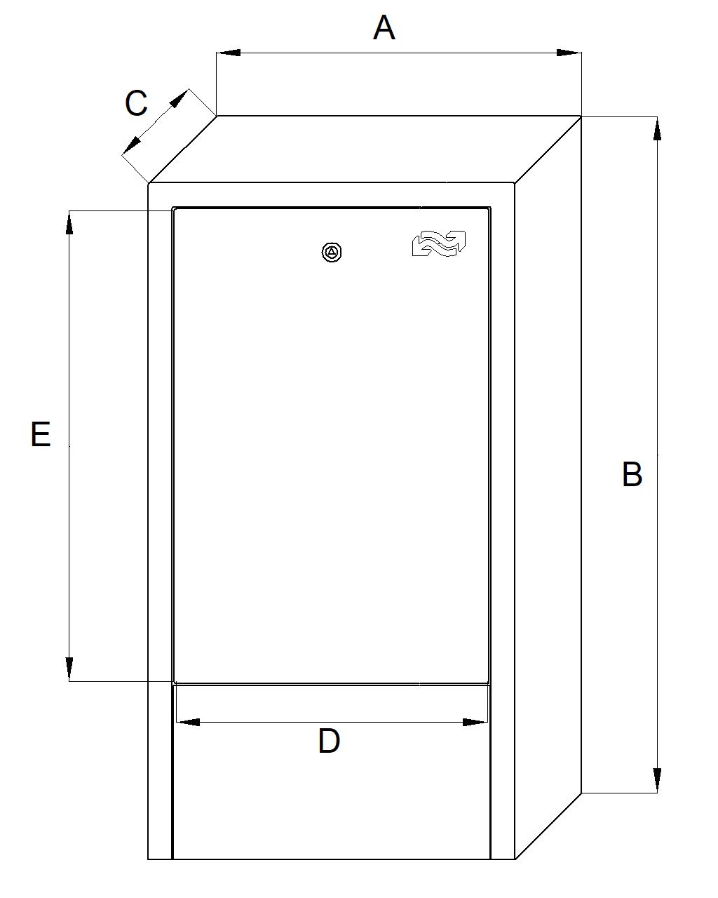
A: 310 mm.
B: 775 mm.
C: 250 mm.
D: 230 mm.
E: 350 mm.
